资源上传
登录
|
注册
010-66060399
微信公众号
首页
|
资源中心
|
专业课程
|
微课世界
|
产品服务
|
新闻资讯
|
会员中心
高教
理学
大气科学类
卫星气象学...
天气学分析...
农业气象学...
海洋科学类
地震与海啸...
物理学类
高分子物理...
电磁场
大学物理...
光学
医学物理光学...
地理科学类
地理信息系统设计与...
旅游地理学...
综合自然地理学...
土壤地理学...
地理学
地貌学
地图制图学...
固体地球物理学...
地质学类
勘查地球化学...
地质学
土壤
爆破作业单位安全检...
地震自救手册...
生物科学类
生物化学...
细胞生物学...
中学生物学实验研究...
中学生物学课程标准...
细胞生物学研究...
生物医学...
分子生物学...
恢复生态学...
生物神经学...
病原生物学...
微生物学...
放射生物学实验...
超敏反应性疾病及其...
心理学类
心理与健康...
管理心理学...
教育心理学...
心理健康教育...
青少年心理发展与教...
心理学
天文学类
中国古代天文...
数学类
数学文化...
大学数学...
线性代数...
数学分析...
微积分
运筹学
高等数学...
函数论
化学类
化学
有机化学...
分析化学...
结构化学...
高分子化学...
核化学
分子结构...
统计学类
统计学导论...
统计学
应用统计学...
现代金融统计...
地球物理学类
地球物理学...
工学
计算机类
现代虚拟演播室系统...
单片机
计算机辅助工程制图...
数字信号处理...
信息系统的分析...
编译原理...
通信原理...
INTERNET技...
图象通信...
通信电子线路...
数据结构...
大学IT
大学计算机基础...
混沌动力学与分形...
微机原理与接口技术...
计算机科学导论...
计算机基础...
多媒体技术基础及应...
计算机科学...
数字结构...
计算机组成原理...
计算机科学与技术...
人工智能及其应用...
计算机网络...
计算机系统...
计算机通信与网络...
网站管理与维护...
电子信息工程...
计算机控制技术...
网页设计...
网络信息制作与发布...
程序设计...
计算机操作系统...
动态网页设计...
中央处理机...
管理信息系统...
计算机原理与接口技...
可编程控制器原理及...
网站设计与分析...
多媒体设计基础...
企业Web技术应用...
计算机原理与接口...
计算机硬件技术基础...
网页设计与制作...
计算机网络安全...
软件工程...
路由器
计算机
计算机文化基础...
数据库原理与应用...
C语言
软件测试...
操作系统...
计算机科学技术...
C语言程序设计...
UML与设计模式...
MATLAB
网站建设与管理...
单片机原理及接口技...
单片机实验系统...
多媒体技术与应用...
数据库基础与应用...
动画制作...
路由交换技术...
FLASH案例...
JAVA案例...
操作系统经...
平面设计...
计算机软件设计...
Web项目实践...
计算机Java...
路由与交换技术...
C程序
教学网站...
VB程序设计...
循环结构程序设计...
VFP程序设计...
C程序设计...
计算机应用基础...
计算机信息技术与网...
游戏环境设计...
入侵检测技术...
计算机组装与维护...
Access数据库...
数据库
编码优化网络...
ACCESS程序设...
编码优化...
计算机组装与局域网...
人机工程学...
Java教学...
多媒体技术...
影视特技与后期合合...
计算机仿真相册设计...
计算机图形学...
塑料成型工艺及模具...
计算机二维动画基础...
多媒体应用...
计算机三维图像处理...
计算机辅助室内设计...
三维数字化设计...
Internet与...
计算机应用...
互联网技术...
计算机基础知识...
网页设计基础...
计算机辅助工业设计...
电子商务概论...
信息系统与数据库技...
网络教育应用...
Photoshop
程序设计和软件开发...
多媒体课件制作与应...
嵌入式系统学习平台...
远程教育原理与技术...
Oracle课程...
电视节目制作视觉意...
计算机网络基础...
信息资源组织与管理...
可视化程序设计...
数字媒体导论...
计算机二维动画制作...
网站策划与管理源程...
三维图形制作与渲染...
数字图像处理...
PS软件
计算机辅助室内设计...
网站策划与管理...
影视特技与后期合成...
计算机dreamw...
CSS与网页设计...
电子海图教学培训系...
办公自动化...
跨文化沟通中的信息...
计算机接口技术...
协议分析与测试...
网页制作...
布局模式设计网页...
网站规划设计...
多媒体应用技术...
本地化行业概论...
基于ExtJS和X...
一级B教与学...
电子商务...
微机原理...
C语言网络...
工业控制网络...
微机控制技术...
平板胶印机结构与原...
绿色印刷与平版胶印...
印前图像处理原理及...
大学计算机程序设计...
网页设计艺术...
展示空间设计...
二维数字动画...
网页样式布局...
三维建模...
多媒体界面视觉设计...
反恐与大学生的安全...
平面构成...
FLASH课件...
动画剧作...
计算机基础应用...
版式设计...
动画设计与制作...
画法几何与阴影透视...
动画制作技术...
计算机科学技术基础...
计算机网络技术...
局域网工作原理...
程序设计语言...
计算机系统结构...
C++程序设...
Oracle数据库...
ASP.NET应用...
计算机软件...
Photoshop...
计算机硬件...
二维动画基础与创作...
网站建设与网页制作...
物联网概述...
计算机网络课件...
网站规划设计与实现...
物联网技术...
计算机图象处理...
3D逆向及快速成型...
Flash动画设计...
多媒体技术及应用...
二维动画制作...
数字影音处理...
计算机文化...
数据访问技术...
力学类
土力学
土力学与地基基础...
理论力学...
结构力学...
工程流体力学...
工程力学...
量子力学...
工程热力学...
理论与实践...
公安技术类
灾害现场逃生与自救...
消防工程...
火灾调查...
火灾与爆炸灾害控制...
机械类
机械工程控制...
工程图样...
工程制图...
工程图学...
机械工程...
机械基础...
机械原理...
机械工程原理...
画法几何及机械制图...
汽车机械制图...
几何与机械制图...
机械制图...
机械设计...
机械CAD&CAM...
机械制造技术...
汽车外形设计概论...
包装机械设计...
CAD
公差与测量技术...
数控车削加工...
现代工程图学...
机械精度设计...
液压传动...
机械创新设计...
机械设计基础...
机械设计基础轴的结...
机械精度设计基础...
工程制图及计算机绘...
画法及工程制图...
机械原理与零件...
零件图和装配图...
机件表达方法...
画法几何及工程制图...
机械制造技术基础...
汽车构造...
特种焊接技术...
数控车削...
液压与气压传动...
液压传动与控制...
液压与气动...
机械工程自动化...
汽车运用与维修...
数控加工与编程...
互换性与测量技术...
CAXA制造工程师...
制造工程师...
机械控制工程基础...
全断面清筛机...
PLC原理及应用...
高等动力学...
汽车发动机检修...
发动机电控技术...
信息技术与汽车维修...
汽车底盘构造...
汽车发动机构造...
汽车发动机构造与原...
水轮机
船艇柴油机运动机件...
船用分油机拆卸实训...
船用分油机拆卸实训...
发动机循环...
汽车拖拉机发动机原...
汽车理论...
制冷与低温技术...
电气制图与CAD...
真空中电场的高斯定...
电机学
电力拖动自动控制系...
电气工程监理...
电气工程与自动化生...
电气工程仿真与计算...
集散控制系统...
工程计算MATLA...
现代仪器分析技术...
示波器
机械工程控制理论...
工程图学基础...
工程与技术科学基础...
机械学
绘制千斤顶零件图和...
数控车削加工轴类零...
机器维修工程学...
发动机构造...
水利类
画法几何与水利工程...
轮系
画法几何与水利工程...
计算水力学...
水工钢闸门...
水电站建筑物...
水利水电工程...
轻工类
包装工艺学...
包装设计...
流体动力学...
化工工艺学...
化工原理...
化工制图...
化工实习...
化工热力学...
聚合反应工程基础...
现代发酵工程...
炼油化工工艺...
石油产品...
生物制药...
仪器分析...
电子信息类
工程计算...
机电工程...
机电传动...
机器人技术...
控制科学与技术...
自动控制原理...
ERP原理与应用...
嵌入式试验之避障机...
密码学
GPS原理及应用...
地理信息系统...
WEB开发技术...
数字电子技术...
模拟电子线路...
模拟电子技术基础...
电子技术...
电路与模拟电子技术...
变电工程设计...
电工技术...
电工电子技术...
电工与电子技术...
电路原理...
数字电路...
电工学
脉冲与数字电路...
电路基础...
电路分析方法...
电路理论...
电力系统分析...
供配电与电气照明技...
电子线路计算机辅助...
电工原理设备...
家电产品造型设计...
电路理论与实践...
电气工程与自动化...
信号与系统...
电气工程实训...
电工技术基础...
电力电子技术...
电子测量技术...
数字电路与逻辑设计...
供配电技术...
电动汽车...
直流电动机应用...
模拟电子技术...
数字电路逻辑设计...
微波技术与天线...
电子技术基础...
数字电子技术基础...
电子技术通信...
高频电子电路...
电工电子...
常用电子元件...
微电子组装...
光电子技术...
测试技术基础...
电子线路...
电子电路...
三相半波...
DSP原理及应用...
光电信息...
电子与通信技术...
光电子技术及应用...
传感器原理及应用...
信息技术系统性应用...
信息技术教学论...
电路理论基础...
光电信息专业实验...
通信原理概论...
现代通信原理...
雷达工程...
自动化类
自动控制...
网络控制系统...
系统建模与控制理论...
过程控制系统...
电子设计自动化...
海洋工程类
海洋平台结构设计...
船舶与海洋平台...
水下基础工程...
船舶与海洋平台制造...
船用分油机拆卸...
船机舱虚拟...
船机舱虚拟仿真...
生物医学工程类
基因工程...
生物医学传感器...
测绘类
遥感数字图像处理...
遥感导论...
遥感基础与应用...
遥感
传感器技术...
传感器原理...
传感器技术及应用...
核磁共振波谱法...
电容传感器...
材料类
材料力学...
材料与社会...
工程材料...
高分子材料...
材料物理...
材料现代分析与测试...
材料物理性能...
材料科学...
药用高分子材料学...
材料成形基础...
材料成形...
材料表面新技术...
工程材料学...
金属材料...
塑料制品设计...
复合材料...
聚合物的晶态结构...
纳米材料与技术...
有色金属冶金学...
冶金与环镜保护...
印刷材料与适性...
产品设计材料与工艺...
材料科学基础...
高分子材料成型加工...
金属材料学...
有色冶金学...
高分子材料加工原理...
矿业类
采煤概论...
电气类
电气工程...
核工程类
冶金物理化学...
材料与冶金...
磁性物理与磁技术...
核探测技术与核电子...
核动力工程技术...
能源动力类
装备液压系统...
装备液压系统典型液...
间壁式换热器...
供热工程...
石油工程...
反应堆安全分析...
液压泵与液压马达...
锅炉原理...
固体废物处理工程...
兵器类
兵器科学与技术...
半自动手枪...
纺织类
织物基本定义...
再生纤维素纤维概论...
针织物组织与产品设...
针织学
纺纱原理...
纺织品艺术设计与实...
经编工艺与设计...
染整工艺原理...
服装生产管理...
纺织服装...
服装设计基础...
成衣纸样综合设计...
西装的纸样修正...
服装陈列设计...
服装结构与板型...
棉纺梳理设备...
创造学
外国服装史...
针织服装设计学...
服装画技法...
服装设计...
服装技术...
古代的服饰...
中国服装史...
食品科学与工程类
食品化学...
发酵工艺原理...
食品化学与分析...
食品营养学...
食品技术原理...
食品营养与人类健康...
食品工艺学...
食品工艺...
基础烹饪技术...
食品分析与检验...
食品营养与配餐设计...
食品分析...
功能性食品...
土木类
土建工程制图...
建筑设计基础...
土力学绪论...
建筑设备概论...
土木工程...
土木工程概论...
桥梁工程...
建筑工程测量...
建筑工程计量与计价...
数字测图原理与方法...
误差理论与测量平差...
建筑材料...
建筑给水排水工程...
钢结构原理...
独院式住宅...
建筑构造...
建筑识图与构造...
大跨度建筑空间钢结...
景观规划设计及理论...
土木工程制图...
建筑辅助设计...
建筑设计...
现代室内设计...
建筑画表现技法...
陈列设计...
桥梁水文...
土木工程制图基础...
住宅建筑设计原理...
钢结构设计...
土木工程制图的基础...
装潢设计...
室内设计...
画法几何与土木工程...
建筑快速表现图手绘...
设计与艺术...
设计概论...
建筑水彩渲染...
建筑设计原理...
建筑施工...
建筑工程施工技术...
建筑透视与阴影...
建筑供配电...
建筑设备施工经济与...
城市空间认知...
结构动力学...
土木建筑工程...
建筑施工测量...
误差理论与测量...
土木建筑工程测量...
建筑材料土木建筑工...
立体构成...
钢筋混凝土结构...
土木建筑结构...
土木建筑工程设计...
室内装饰施工工艺...
独院式住宅建筑设计...
建筑施工技术...
土木建筑工程施工...
交通运输类
道路勘测设计...
建工交通...
船艇康明斯柴油机虚...
船模性能实验...
专用教学实习船机舱...
船舶建造理论与工艺...
铁路运输...
交通运输工程...
环境科学与工程类
环境微生物学...
大气环境学...
大气污染控制工程...
固体废物处理与处置...
水污染控制工程...
减轻灾害风险教育...
装饰中国传统纹样...
化工与制药类
有机化学实验...
化学工程...
化工工艺...
航空航天类
航空发动机燃烧室...
航空油料测定仪...
飞行器试验技术...
安全科学与工程类
安全防范技术...
安全科学技术...
仪器类
测控技术与仪器...
地质类
地质工程...
农业工程类
农业工程...
林业工程类
森林工程...
建筑类
建筑学
生物工程类
生物工程...
农学
动物生产类
动物生物化学...
农业昆虫学...
普通昆虫学...
普通动物学...
动物生物学...
动物学
动物生理学...
家畜组织学...
家畜组织学与胚胎学...
植物生产类
植物生理生化...
植物生物学...
观赏植物学...
植物学
植物生理学...
农业植物病理学...
作物栽培学...
园艺学
果树栽培学...
普通植物病理学...
园林学
城市园林设计...
园林植物造景...
园林植物学...
中国园林艺术史...
园林花卉学...
园林树木学...
园林绿地规划...
植物栽培...
园林
风景区规划...
植物病理学...
农业工程类
农业机械学...
自然保护与环境生态类
耕作学
草学类
草坪学
动物医学类
动物解剖学...
兽医产科学...
家禽的孵化...
兽医产科...
兽医临床诊断学...
兽医生物制品学...
兽医微生物及免疫学...
兽医基础...
兽医药理学...
教育学
体育学类
运动系统...
大学理论体育课程...
国际式摔跤教程...
体育保健学...
健美操
体育教育学...
二对一控制技术...
田径
体操
羽毛球
圣经
运动心理学概论...
跳远
乒乓球
网球
运动规律...
摔跤
运动生理学...
体育课篮球...
教育学类
中学信息技术...
大学语文...
色彩学习与实践...
教育游戏概论...
现代教育技术...
网络教学设计与评价...
学习科学与技术...
教育技术...
教育系统设计...
教育技术学...
学科教学论...
幼儿园阅读区的创设...
课程与教学论...
五笔教程...
数字化学习资源设计...
小学数学教学法...
远程教育学...
人生美学...
文学翻译...
职场交际英语...
硬笔楷书合体字结构...
边区教育史...
微格教学训练...
小学英语...
教育学
中学英语...
普通教育学...
高等教育学...
教师专业...
教育科学研究...
教师专业发展...
医学
医学技术类
遗传学
人体解剖生理学...
解剖学
人体解剖学...
人体解剖学与组织胚...
人体形态学...
组织学
人体胚胎学...
心电图基础...
T细胞
医学计算机与信息技...
多普勒超声诊断仪...
实验诊断学...
超声诊断...
诊断学
医学图像处理...
缺血性脑梗死的影像...
脑血栓形成动态...
卒中发病过程...
心力衰竭...
心脏病
红斑狼疮...
急性胆管炎...
甲状腺功能亢进症...
心肺脑复苏...
心肌梗死...
肝脏
血液与血液疾病...
消化性溃疡的病因和...
先天性心脏病...
原发性肺结核...
结核性脑膜炎...
内分泌危象诊治...
水肿
心搏骤停与心肺脑复...
大肠癌
冠心病患者的护理...
急性心肌梗死...
血液透析...
颅内压增高和脑疝...
泌尿系
颅内压
帕金森病的诊断...
颞下颌关节疾病...
前列腺增生症...
骨科手术学...
颅内压增高...
男性患者留置导尿术...
颞下颌
帕金森病...
胚胎生长发育及胎儿...
牙体
桩冠修复...
口腔修复...
口腔
牙体缺损...
全瓷冠
牙髓腔解剖...
环境与健康...
假设检验...
疾病的原理与防治...
先天性心脏...
医学成像技术...
基础医学类
中国医学史...
医用化学...
生理学
肌细胞的收缩功能...
补体系统...
病理学
药理学
新药安全性评价...
外科学
普外科常见疾病的护...
绝经前后诸证...
宫颈病变...
乳腺癌
生殖细胞与受精...
产前保健...
早孕
妊娠生理...
儿童饮食行为问题...
川崎病
生长激素缺乏症...
小儿内科学...
角膜病
皮肤性病学...
染色体病...
梅毒
肌张力障碍...
电击伤
心肺复苏...
急诊医学...
卵巢肿瘤...
食管癌
鼻饲法
人体解剖学绪论...
妇产科
儿科学
中医学类
补虚药
中药学
小儿推拿...
中医药膳学...
刺法灸法学...
毫针刺法...
中医温病学...
中医妇科学...
中医病因...
黄帝内经四时养生...
中医诊断学...
经络学说...
阴阳学说...
推拿学
中医心理学...
中医学
临床医学类
人体断面解剖学...
临床医学概论...
脑的解剖...
临床医学概论-炎症...
临床诊断学...
临床医学...
护理学类
心肌梗死患者的康复...
康复治疗...
麻醉
烧伤伤员的护理...
泌尿生理...
股骨颈骨折...
新生儿黄疸...
妇产科护理学...
女性生殖系统生理...
产后出血的护理...
护理学基础...
护理学
腰椎间盘突出症...
硬膜外阻滞麻醉...
外科护理学...
中西医结合类
心脏瓣膜病...
肝胆胰手术...
妇产科学...
医学生物化学...
医学寄生虫学...
麻醉设备学...
中药学类
中药学-小儿外科学...
中药鉴定学...
中药化学...
公共卫生与预防医学类
营养学
毒作用影响因素...
营养与食品卫生学...
细菌
风温
支气管哮喘...
腰椎峡部裂和腰椎滑...
食品卫生学...
药学类
天然药物化学...
毒物分析...
发酵制药...
药物制剂设备...
中药药剂学...
药物毒理学...
民族医药与方剂学...
现代中药的提取分离...
药用植物学...
药物分析...
药剂学
口腔医学类
口腔医学...
艺术学
设计学类
茶文化
茶馆设计与装饰...
家具设计...
家具与陈设设计...
产品设计...
产品系统开发设计...
设计色彩...
标志设计...
餐饮空间设计...
展示设计...
平面综合项目设计...
装饰画
工艺美术...
装饰色彩...
设计透视...
产品专题设计...
金属器皿设计...
视听语言艺术...
广告电视创意与制作...
企业形象设计...
网络广告...
产品设计及表达...
珠宝首饰设计...
现代首饰设计...
设计素描...
产品设计造型...
广告创意...
艺术欣赏...
手绘设计...
广告创意与文案写作...
创意图形设计...
艺术原理...
纤维艺术...
图形创意...
艺术美学...
平面广告创意与设计...
型录设计...
世界现代设计艺术史...
色相对比...
字体设计...
城市公共厕所的优化...
南方民族科技史与传...
产品包装与促销设计...
戏剧与影视学类
动画概论...
动画运动规律...
电影
电视教材...
视听语言...
动画设计...
动画场景设计...
民间皮影艺术...
动画视听语言...
电视摄像技术...
场面调度...
电视摄像...
中国戏曲艺术...
影视特效...
动画艺术...
影视后期制作...
影视音乐...
戏曲
影视动画制作...
动画技法...
音乐与舞蹈学类
中国音乐...
西方钢琴音乐...
基本乐理...
西北民族音乐...
动物狂欢节...
西方钢琴音乐欣赏...
隋唐音乐...
戏曲鉴赏...
古典芭蕾舞...
民族音乐...
芭蕾舞
美术学类
油画人体...
色彩构成...
设计水粉...
图形设计...
摄影学
摄影基础...
建筑摄影...
摄影用光...
摄影摄像技术...
中国美术简史...
摄影技术...
素描创新思维训练...
摄影技艺...
雕塑
影视片名...
中国画
美术
管理学
工商管理类
企业管理...
薪酬管理...
人员招聘与甄选...
部门经济管理...
日本的茶道文化...
实习岗位职能说明...
会计学原理...
本量利分析...
会计综合实训...
基础会计实训...
会计学
会计电算化...
银行会计...
财务报表与案例分析...
会计恒等式...
会计信息系统...
中级财务会计...
会计凭证...
财务管理基础...
基础会计学...
初级财务会计...
财务会计...
会计手工模拟实验...
税法学
高级财务会计...
审计学
工程经济...
劳动经济学...
资产评估...
市场营销策划...
商务礼仪...
企业策划与实施...
营销英语...
组织行为学...
人力资源管理...
酒店管理...
博弈论与合作共赢...
财政学
税务筹划...
投资经济学...
移动互联网金融...
商业银行经营学...
投资学
信托与租赁...
金融学
金融
个人理财...
保险学
经济数学...
电子商务经济学...
中国节俗文化...
礼仪文化...
个人礼仪...
女大学生修养与智慧...
国际贸易政策和理论...
市场营销与品牌管理...
合同法
国际贸易单证实务...
大学生认知...
告别庸俗的消费观...
营销学
国商
网络营销...
会计报表与会计恒等...
会计
税收筹划...
特许经营概论...
货币银行学...
数理统计学...
管理科学与工程类
管理学原理...
工作分析...
系统工程...
管理学
管理会计...
现代企业管理方法...
市场营销概述...
财务案例研究...
创业财务...
现代企业管理...
企业形象策划...
护理管理学...
财务管理...
基础会计...
工商企业管理...
公司财务管理...
绩效管理...
企业文化案例...
企业战略管理...
公共管理学...
项目论证与评估...
人员素质测评...
管理学理论...
采购管理系统...
商务谈判...
公共管理类
公共行政学...
工业工程类
工业设计史...
电子商务类
电子商务基础...
电子商务系统...
电子商务物流管理...
电子政务实践...
物流管理与工程类
仓库搬运机械结构维...
运输与配送...
仓储与配送管理...
货物运输设备...
企业物流管理...
物流管理...
国际物流...
国际金融...
国际物流实务管理...
供应链管理...
物流配送管理实务...
旅游管理类
中国旅游文化...
观光旅游农业...
商务与涉外礼仪...
旅游市场营销学...
旅游
旅游景区管理...
导游实训...
旅游学
旅游资源开发与利用...
导游
导游业务...
饭店服务与管理...
旅游学概论...
导游英语...
旅游规划与开发...
旅游管理...
导游基础...
英语导游...
旅游经济学...
图书情报与档案管理类
资料整理与案例分析...
哲学
哲学类
马克思主义基本原理...
毛泽东思想和中国特...
政治理论...
马克思主义原理概论...
哲学引论...
法学
马克思主义理论类
思想道德修养与法律...
中国特色政治制度概...
思想品德修养...
思想政治...
思想政治理论...
思想道德修养与法律...
中国特色社会主义...
法学类
实用法律英语...
实用法律基础...
法理学
律师事务...
知识产权法...
民事诉讼法...
部门法学...
环境与资源保护法...
婚姻法
环境保护法...
传媒政策与法规...
污染环境罪...
刑事诉讼法...
国际法上的国家和个...
环境法
民法总论...
法学概论...
理论法学...
当代世界法制...
国际法学...
政治学类
西方政治思想史...
公众科学观...
政治
公安学类
军事理论...
战时装备科研工作...
控制技术...
军事电子...
军歌
军队指挥...
军事地学...
军事英语...
社会学类
社会调查与统计...
社会调查与方法...
应用社会学...
就业指导...
中华经典文化...
传统文化艺术...
中国文化...
中外礼仪...
西方文化与礼仪...
跨文化交际学...
文化产业概论...
比较文学...
正确认识世界...
对外汉语...
中西文化...
传统文化赏析...
公共关系学...
民族学类
民族学
文学
中国语言文学类
汉字文化...
普通话
汉字规范化书写...
口译技巧与实务...
语言学概论...
现代汉语...
中国古代文学...
中国现代文学...
上编综述...
阅读与写作...
分层可视化...
古代文学与民族心理...
哲学故事与智慧人生...
文献检索...
经典诗文...
基础写作...
王勃与滕王阁序...
中国古典文学...
儿童故事赏析与推广...
外国语言文学类
英语
大学英语...
研究生英语...
新视野大学英语...
商务职场英语...
跨文化交际...
艺术专业基础英语...
土木工程专业英语...
商务基础日语...
英美文学...
时事英语...
数字媒体技术专业英...
英国社会与文化...
职业英语...
英国文学...
计算机专业英语...
高级英语...
商务英语...
旅游英语...
英语听力...
基础韩国语...
雅思听力...
基础西班牙语...
电子商务英语...
实用英语...
新编大学德语...
国际商务英语...
计算机英语...
专业英语...
日语
基础英语...
音乐专业英语...
外贸实务英语...
中级韩国语...
日本文化...
希腊罗马神话...
市场营销英语...
财经英语...
商务英语翻译...
综合英语...
通用军事英语...
新编实用英语...
经贸英语...
英语国家社会与文化...
新概念英语...
扶桑印象...
英美国家...
英语口语...
外国语言...
法语
大学综合英语...
新闻传播学类
电视广告创意与制作...
广告
广告案例分析...
现代广告学...
广告设计...
平面广告设计...
广告策划...
纸质媒体广告...
广告学概论...
广告策划与创意...
电视频道品牌包装...
视觉平面广告设计...
广告学
现代虚拟演播室...
电视节目编导与制作...
电视节目制作技术...
电视摄影与后期制作...
新闻定义...
新媒体概论...
新闻编辑学...
数字影视广告...
中国新闻事业史...
传媒经营...
翻译理论...
报刊编辑学...
数字媒体技术...
新闻事业经营管理...
新闻传播...
文献信息检索...
历史学
历史学类
中国近代史...
英美概况...
希腊神话...
日本的婚礼习俗...
考古
中国近代史纲要...
三国演义...
中国近现代史纲要...
高清虚拟演播室...
英国文学史...
英美文化与国家...
中国近现代史...
经济学
经济学类
政治经济学...
微观经济学...
消费者行为学...
国际商务谈判...
市场营销...
西方经济学...
单证实务...
市场营销学...
国际经济学...
贸易经济学...
现代经济学...
经济学原理...
区域经济学...
工业技术经济学...
管理经济学...
经济学
农村经济学...
经济管理消费者行为...
土地经济学...
世界经济学...
经济与贸易类
国际贸易...
广告与整合营销...
外贸单证实务...
国际贸易实务...
外贸单证事务...
国际技术贸易...
海关通关实务...
报关实务...
金融学类
商品学
财政学类
财政
职教
资源环境与安全大类
资源勘查类
地球科学概论...
地球运动...
地图学
气象类
应用气象仪器学...
地质类
遥感地质学...
矿物岩石学...
地质学基础...
煤矿地质学...
环境保护类
自然界水循环...
室内供暖系统...
环境化学...
环境科学概论...
环境监测技术...
大气污染及其防治...
环境学
石油与天然气类
采油工程...
油气分离设备...
油层物理...
能源科学技术...
石油产品...
汽油的提取...
测绘地理信息类
地理信息系统...
测量学
工程测量学...
环境监测...
煤炭类
煤块开采技术...
安全类
救援技术...
金属与非金属矿类
矿物加工技术...
农林牧渔大类
林业类
植物地理学...
植物学
植物生理学...
观赏植物栽培学...
植物分类学...
植物保护技术...
园艺植物育种学...
园艺植物病虫害防治...
花卉学
园艺学
园林工程...
园林
园林植物栽培养护...
植物栽培...
园林树木...
园林学
畜牧业类
动物生物化学...
动物营养与饲料...
动物寄生虫病...
动物学
动物生理学...
解剖学动物干制标本...
动物微生物学...
热带食用菌...
动物保护概论...
预防兽医学...
家畜病理学...
动物免疫学...
兽医产科学...
家禽传染病防治技术...
猪病诊断与防治...
兽医学
农业类
植物组织培养...
免疫学检验基础...
免疫学
农业生态学...
农业微生物学...
作物栽培...
农业机械学...
农业学
农作学
蔬菜栽培...
种子检验...
作物栽培学...
土壤
渔业类
贝类学
淡水捕捞学...
水产养殖...
能源动力与材料大类
电力技术类
电工技术...
非金属材料类
基于VRML的材料...
功能材料概论...
材料力学...
工程材料...
材料成形...
机械工程材料...
工程材料学...
金属材料...
材料成形工艺基础...
材料科学基础...
金属材料及热处理...
热能与发电工程类
核电站动力设备运行...
新能源发电工程类
风力发电工程技术...
黑色金属材料类
金属材料质量检测...
有色金属材料类
有色冶金技术...
建筑材料类
土木工程材料...
道路建筑材料...
建筑材料...
土木建筑大类
土建施工类
土力学与地基基础...
土质与土力学...
工程数学...
工程力学...
中国古建筑...
土力学地基基础...
土力学
建筑力学...
建筑工程测量...
建筑施工测量实训...
建筑装饰工程技术...
建筑结构...
建筑装饰制图与识图...
刚架结构...
建筑工程制图与识图...
土木工程识图...
现代建筑...
建筑阴影与透视...
3D建筑建模...
建筑装饰表现图技法...
建筑CAD
建筑概论...
建筑装饰施工技术...
基础工程...
建筑施工技术...
土木工程施工与管理...
混凝土施工技术...
铁路隧道施工...
建筑装饰构造与施工...
装饰图案...
建筑机械施工技术...
工程机械构造...
工程估价...
工程量清单计价...
现代建筑评论...
建筑质量与安全控制...
土木建筑工程基础学...
土木建筑工程...
建筑施工测量...
土木建筑工程测量...
路基施工技术...
公路施工组织与概预...
土木建筑工程施工...
市政工程类
农业工程灌溉与排水...
燃气工程...
供热工程...
排水工程...
供暖与供燃气...
建筑给水排水工程...
建筑设备类
建筑识图与构造...
钢结构
点支承玻璃幕墙构造...
建筑构造与识图...
建筑结构识图...
轻钢门式刚架结构...
预应力混凝土...
城乡规划与管理类
房屋建筑学...
集合住宅...
景观设计...
室内设计...
餐饮扬州...
三维造型设计与制作...
建设工程管理类
水分析化学...
建筑设计类
室内装饰设计...
居室空间设计...
钢结构设计原理...
景观设计基础...
建筑设计原理...
建筑计算机辅助设计...
室内设计程序...
土木建筑工程设计...
钢结构设计...
建筑装饰设计...
建筑设计...
房地产类
房地产经营与管理...
生物与化工大类
生物技术类
DNA的生物合成...
细胞生物学...
小分子物质的跨膜运...
分子生物学...
微生物学...
普通生物学...
化工技术类
生物化学...
工程制图...
炉外精炼...
化工原理...
化学工艺...
化工仪表及自动化...
化工
传质与分离工程...
化学
化学反应过程与设备...
过程机械...
电解质溶液和离子平...
精细化工...
生皮化学与组织学...
化学工程...
化工单元操作技术...
化工机械与设备...
医药卫生大类
医学技术类
人体断面解剖学...
解剖学
人体解剖生理学...
腧穴解剖结构...
颈根部应用解剖...
眼的解剖生理...
人体三维解剖...
神经系统...
系统解剖学...
人体解剖学...
心
内脏学
传导通路...
医学影像学...
X射线计算机断层摄...
心脏影像诊断...
心电图教学动画...
诊断学
口腔
心肺血管疾病...
心电学
X线计算机断层摄影...
临床医学类
生理学
生物医学...
生物化学与分子生物...
医用化学实验...
医用化学...
运动系统...
端脑
泌尿系统...
心脏
遗传学
能量代谢与体温...
血液循环生理学...
细胞的生物电现象...
人体及动物生理学...
人体生理学...
组织学与胚胎学...
循环系统常见疾病的...
人体胚胎学...
循环系统常见症状和...
医学遗传学...
T细胞
人体寄生虫学...
医学微生物学...
肝脏病理学...
伤寒论
药理学
医学物理学...
医用无机化学...
中枢神经系统...
血液分析及其应用...
心脏听诊...
神经系统体检诊断学...
腹部
循证医学...
MRI基本原理...
血液
皮肤抗衰老...
医学
浅进针骶管麻醉...
椎管内麻醉...
麻醉
再生障碍性贫血...
冠心病心绞痛...
致命性心律失常的诊...
房间隔缺损...
血液净化原理...
肾病综合征...
甲亢
微生物切片...
狂犬病
血液科病例讨论...
冠心病心肌梗塞...
肝性脑病...
心律失常...
房间隔缺损-...
内科
心脏瓣膜病...
先心病之室间隔缺损...
呼吸系统...
妇科
外科学
痛风
脑出血
骨折
创伤
胆道外科学...
骨科学
膝关节疾病...
核磁共振...
妊娠生理...
会阴切开缝合术...
功能失调性子宫缺血...
子宫肌瘤...
流产
异位妊娠...
脑出血微创抽吸引流...
前置胎盘...
滴虫性阴道炎...
小儿外治疗法...
小儿佝偻病...
新生儿疾病...
儿科学
白内障
眼屈光学...
鼻咽癌
口腔修复学...
牙周空间...
牙列缺损...
桩核冠
种植义齿...
龋病
银屑病
癫痫
阿尔茨海默病...
面神经麻痹...
心肺复苏...
乳腺癌
白血病
食管癌
阻塞性睡眠呼吸...
肾肿瘤
肺癌
艾滋病护理...
排尿护理...
基础护理学...
下肢静脉曲张护理...
内科学
毒理学基础...
汞矿的开采及冶炼...
职业环境与健康...
职业汞中毒诊断标准...
水体卫生...
职业病的诊断与防治...
空气理化检验...
疾病的原理与防治...
经络网络...
肥胖症的中医治疗...
中医脉诊...
中医诊断学...
小儿推拿...
中医急诊学...
腰椎间盘突出症的推...
中医望诊...
子午流注针法...
中医学
中医针灸...
药用植物学...
中医方剂学...
人体免疫学...
人体形态...
肺部疾病...
健康管理与促进类
心理与健康...
管理心理学...
心理卫生...
心理学
健康评估...
毒作用影响因素...
毒物分析学...
地方性氟中毒...
卫生经济学...
吸烟与生活健康...
养生原则...
养生保健...
护理类
护理学
运动性疾病的预防和...
药学类
药学化学研究...
药剂学
发酵制药...
方剂学
剂方学
中药学
抗癫痫药...
康复治疗类
康复治疗技术...
公共卫生与卫生管理类
预防医学...
人口与计划生育类
人口与家庭发展服务...
教育与体育大类
教育类
职教师资班...
化学教学论...
教育技术学...
现代教育技术...
思维拓展...
学前儿童语言教育...
幼儿园班级管理...
交通指南小学篇...
现代科学技术概论...
现代教育...
运动解剖学...
运动生物化学...
外国教育史...
学前教育学...
普通教育学...
大学生学业...
运动训练学...
文秘类
秘书学
秘书实务...
秘书专业英语...
企业秘书概论...
语言类
语言学
普通话水平测试...
旅游英语...
外贸英语...
体育类
奥运百年...
篮球理论...
大学体育理论...
体育保健学...
游泳理论...
田径运动技术原理...
篮球游戏...
篮球规则教学与训练...
有氧搏击操...
足球
拳击
排球
跆拳道
民族传统体育...
网球
体育
武术理论与方法...
公共基础大类
公共基础类
大学数学...
数学分析...
函数奇偶性...
数学建模...
马克思主义认识论...
马克思主义政治经济...
中国历史...
思想道德修养与法律...
毛泽东思想和中国特...
毛泽东思想和中国特...
邓小平理论和三个代...
毛泽东思想、邓小平...
科学社会主义的理论...
毛泽东思想、邓小平...
思想政治...
思想政治理论...
思想道德修养...
中国哲学史...
大学语文...
普通话
医学英语...
越南语语音...
大学英语...
英语
信息技术英语...
新视野大学英语...
酒店培训...
大学汉语...
新东方英语...
高级英语...
音频学习...
英文电影赏析...
高职高专英语...
外国语言...
职业英语...
高职综合英语...
实用综合教程...
电子商务英语...
剑桥商务英语...
应用英语...
实用英语...
综合英语...
商务英语...
轮机英语...
政治学概论...
中国边界问题研究...
中国少数民族哲学思...
影视美学...
美容美发...
艺术美学...
基础英语...
电子信息大类
计算机类
数据结构...
产品系统设计...
网络安全技术...
计算机语言...
计算机辅助工程制图...
计算机制图...
数据结构与程序设计...
计算机文化基础...
计算机科学技术...
计算机导论...
网络技术与应用导论...
微机原理与接口技...
计算机基础...
微机原理与接口技术...
数字结构...
计算机网络技术...
计算机系统结构...
计算机网络...
计算机组成原理...
计算机系统...
计算机网络原理...
可编程控制器技术与...
计算机操作系统...
C语言程序设计...
HTML学习系统...
C语言教学...
编译原理...
WinForm项目...
程序设计...
图解
数据库系统原理...
汇编语言程序设计...
网页设计技术...
C程序设计...
网页设计与制作...
软件工程...
网页设计...
数据库系统...
计算机软件工程...
商务网站开发...
网页后台开发...
计算机平面软件...
数字平面制作技术...
商务网站...
计算机辅助设计...
存储器层次结构...
计算机硬件技术基础...
电脑组装与维护...
PLC基础及应用...
计算机组装与维护...
计算机组装与维修...
微机原理及接口技术...
电子产品安装与测试...
数字电子产品安装与...
二维动画...
电脑动画...
网页制作...
Flash案例...
微型计算机原理及应...
计算机辅助设计与制...
计算机图形学...
计算机应用技术...
多媒体制作软件...
立体构成...
动画立体造型...
动画运动基本规律...
Flash动画设计...
计算机图形图像处理...
多媒体技术...
Photoshop
MAYA在线教学平...
影视编辑软件...
三维动画角色制作...
非线性编辑...
信息技术基础...
多媒体制作工具...
计算机应用基础...
数码平面造型...
Flash动画设计...
二维FLASH动画...
二维动画设计...
Photoshop...
人物走路循环动画...
auto CAD多...
办公自动化设备使用...
photoshop...
计算机基础知识...
网站建立...
Maya动画制作...
电子商务...
数字化媒体艺术基础...
数字歌动画制作...
动画制作...
办公自动化...
数据库原理及应用...
计算机图像处理...
计算机应用...
计算机实验...
色彩
计算机动画设计...
平面设计...
三维渲染...
图像处理技术...
多媒体定格动画...
数据处理...
E-mail营销工...
桌面排版...
计算机图形...
虚拟现实技术...
综合布线技术与施工...
控制科学与技术...
单片机结构及开发设...
单片机结构及开发设...
传感器与检测技术...
动画制作技术...
计算机软件...
数据库
网页动画开发...
软件开发环境与开发...
数据库应用基础...
冒泡排序...
加密技术...
for语句的循环结...
遮罩动画原理与制作...
数字图像技术...
FLASH动画制作...
计算机应用能力...
Maya三维动画制...
动态网页设计...
计算机二维动画设计...
Dreamweav...
网络设计与制作...
三维动画实例制作...
动态网站...
电子商务与实务...
版式设计...
计算机平面设计...
数字影音处理...
计算机文化...
计算机科学技术其他...
电子信息类
电子技术...
电工学
电路原理...
电路基础实验...
电路分析...
汽车电器...
超导材料...
高压断路器...
模拟电子技术...
电工技能...
电工电子技术...
电子测量技术...
电工技术基础...
电工技术及实训...
电子测量...
电子线路制图与CA...
电工与电子技术...
模拟电子技术实验...
数字电路...
电子实习...
高频电子线路...
电路分析基础...
通信电子电路...
电路CAD
电路多媒体CAI...
典型负荷线路的安装...
电子产品装配工艺...
电子设计与制作...
光电子技术...
半导体工艺实习...
电子信息技术...
电子信息...
通信类
通信技术...
装备制造大类
机械设计制造类
工程图学...
三坐标测量与快速成...
人机工程学...
仪器类
工程光学...
模具设计...
铰链四杆机构的判定...
机械原理...
机械基础...
机械制造基础...
机械制图...
画法几何与工程制图...
画法几何与机械制图...
制图零部件测绘...
画法几何及机械制图...
极限配合与技术测量...
画样画法...
CAD/CAM数字...
起重机主梁设计...
印刷设备...
机械优化设计...
机械设计...
轮系及其设计...
机械CAD/CAM...
带传动
冲压工艺及模具设计...
过程设备设计...
叶轮动模自动编程及...
离心泵
3D工程制图...
画法几何及工程制图...
电子测量与仪器...
产品设计模型...
机械设计基础...
机械制造技术...
液压气压...
模具
机械CAXA...
包装结构与模切版设...
机械制图基础...
机械制造技术基础...
机械制造工艺学...
塑料成型工艺及模具...
金属工艺学...
机械基础及应用...
二氧化碳气体保护...
典型焊接接头电弧焊...
机械制造...
铸造机械化...
万能分度头...
流体输送机械...
液压技术...
液压与气压传动...
液压传动与控制...
液压传动...
液压与气压的传动...
液压与气动技术应用...
液压与气动...
叶轮
机电数控设备维护维...
模具CAD
机械CAD
数字电子技术...
泵与风机...
活塞式制冷压缩机...
继电保护...
电机原理及拖动...
电机装配...
电气与可编程控制技...
电机学
压力机安装动画...
供配电控制设备...
工程识图与CAD制...
信息与控制工程...
电力
PLC
三相异步电动机...
电机拖动及应用...
单片机
单片机原理及应用...
平面图像处理...
气相色谱仪...
包装印刷...
质量检测...
机械零部件测绘...
零件的计算机辅助制...
外轮廓零件的编程与...
动力机械工程...
电气工程...
氧传感器...
传感器原理...
产品应用专用性技术...
自动化类
自动控制理论...
自动控制元件...
机电一体化...
EDA技术
自动测试技术...
测控仿真实验...
控制电动机...
简易数字信号发生器...
数字信号处理...
传感器与信号处理...
通信原理...
通讯原理...
信号分析与处理...
程控交换...
现代交换技术...
通信系统原理...
现代通信原理...
雷达测量原理...
电子控制...
信号与系统...
自动化立体仓库...
工业自动化技术...
汽车制造类
汽车机械基础...
汽车制动系维修...
汽车机械制图...
汽车转向...
汽车防抱死系统...
汽车构造...
汽车发动机机械系统...
汽车交流发电机...
发动机的工作原理与...
汽车发动机机械系统...
汽车运用与维修...
汽车构造与电控技术...
汽车发动机检修...
汽车制动系...
汽车营销技术...
汽车电器设备与维修...
汽车舒适与安全系统...
汽车故障诊断...
汽车电气系统...
汽车发动机配气机构...
发动机电控系统...
发动机系统控制...
汽车检测技术...
汽车底盘...
汽车机械技术...
发动机原理...
汽车构造发动机...
工程机械发动机曲柄...
汽车底盘构造与维修...
汽车发动机...
内燃机构造...
汽车专业英语...
发动机循环...
汽车覆盖件模具设计...
汽车制造与装配技术...
机电设备类
模具成型...
塑料成型工艺学...
弯曲模的结构与设计...
冷冲模设计...
二氧化碳气体保护焊...
金属切削机床...
数控机床...
数控加工...
数控车削...
数控技术...
冗余度机器人...
数控车削加工...
数控加工技术...
数控机床电气控制...
机床技术...
铁道装备类
铁道机车车辆制造与...
船舶与海洋工程装备类
船舶工程技术...
航空装备类
飞行器制造技术...
食品药品与粮食大类
食品工业类
食品化学...
生物与发酵技术...
烹饪原料学...
营养配餐...
食品营养与配餐设计...
烹饪
食品工艺学...
饲料加工学...
饺子制作...
肉制品加工技术...
食品工艺...
焙烤食品加工技术...
食品机械与设备...
食品机械设备...
药品制造类
中药生产与加工...
食品药品管理类
药品经营与管理...
粮食工业类
工业发酵分析...
粮食工程技术...
粮食储检类
食品分析与检验...
粮油储藏与检测技术...
交通运输大类
城市轨道交通类
冶金液压传动...
液压传动与气动技术...
发动机构造与维修...
城市轨道交通...
道路运输类
汽车电器设备构造与...
汽车电气系统检修...
汽车动力系统检修与...
桥涵设计与施工...
桥涵设计...
公路勘测...
路基路面工程...
道路工程制图...
交通工程学...
运输包装设计...
道路工程...
公路运输...
物流
铁道运输类
铁道概论...
潜标系统及布放回收...
运输管理...
铁路运输...
航空运输类
航空航天概论...
飞机陀螺仪...
制冷与低温工程...
水上运输类
水路运输...
管道运输类
管道运输管理...
邮政类
邮政通信管理...
轻工纺织大类
纺织服装类
织物组织分析与应用...
服装材料学...
针织学
电脑横机程序设计...
织造工艺学...
西装纸样修正...
服装设计与欣赏...
服装结构制图与样板...
服装款式构成...
服装设计基础...
服装结构与板型...
青果领结构设计...
色彩基础...
服装技术...
服装贸易实务...
轻化工类
高分子材料加工技术...
包装类
包装工程技术...
印刷类
印刷设备应用技术...
水利大类
水文水资源类
水工建筑物...
给水处理...
水利工程与管理类
钻井工程...
水利水电工程技术...
水利水电设备类
水土保持技术...
公共管理与服务大类
公共管理类
财务管理...
酒店业人力资源管理...
国际礼仪与外事接待...
餐饮礼仪...
旅行社经营管理...
公共事业类
社会工作...
公共服务类
老年服务与管理...
旅游大类
旅游类
酒店英语...
前厅服务与管理...
餐厅英语实训...
酒店
旅游经济学...
导游
景区导游...
旅游
旅游管理...
中国旅游地理...
导游英语...
导游基础...
旅游资源与开发...
商务日语实务...
旅游文化...
旅游政策与法规...
会展类
移动展示道具设计...
餐饮类
餐饮实务实训...
文化艺术大类
民族文化类
佛教与中国文化...
原始基督教的产生...
自学维吾尔语...
新编日语...
水浒传
水浒故事...
三国
唐宋诗词...
孙子兵法...
曹操
关羽
汉末军阀...
四大名著...
张飞
诸葛亮
刘备
官渡之战...
徐庶
三国演义...
中国古代文学...
语文
近代文学...
欧美文学史...
英美文学...
音乐赏析...
音乐欣赏...
中国昆剧角色家门...
中国京剧艺术欣赏...
戏曲欣赏...
色彩与光影造型...
电影艺术研究...
外国著名导演及其代...
教学简笔画...
图案设计...
电脑美术设计基础...
包装设计...
美术基础...
设计素描...
色彩调和构成...
色彩写生...
基础图案...
会展设计...
商业插画...
美术
室内生态环境设计...
生态环境设计...
色彩静物写生...
绘画
色彩构成...
陶瓷艺术鉴赏...
生活陶艺...
艺术概论...
民族工艺...
艺术设计...
摄影技术与艺术...
摄像技巧...
吴文化
中国古代史...
中国近代史...
外国服装史...
中国服装史...
中国传统文化...
盛京文化...
民族e家...
中外民族民俗...
新疆历史与民族宗教...
中国节日文化...
大观楼长联与楼文化...
中国文化概论...
云南普洱茶文化...
美国流行文化...
日本茶道...
品牌文化...
中古代文学...
工艺美术...
标志设计...
面部的基础晕染及立...
文化史
文化学
表演艺术类
影视作品中的场面调...
播音主持艺术发声...
艺术设计类
产品包装设计...
研讨会设计与服务...
茶饮料包装设计...
广告策划营销...
网络广告...
广告策划...
招贴广告设计...
会务工作...
广告创意...
幽默广告...
包装造型设计...
互动式广告的创意...
招贴设计...
文化服务类
文物修复与保护...
新闻传播大类
广播影视类
电视频道...
电视新闻节目系统...
新闻出版类
图文信息处理...
财经商贸大类
工商管理类
管理学
现代企业管理...
管理科学基础...
管理学原理...
财务管理导论...
职业形象设计与训练...
企业管理...
工商企业管理管理信...
电子政务...
管理信息系统...
大学生就业与创业指...
工商企业管理...
品牌策划...
企业战略管理...
成本管理...
职业口才...
公共管理...
人力资源开发与管理...
生命历程理论...
个体社会化...
就业指导...
个人礼仪...
社会学理论...
文化社会学...
物流类
仓储与配送管理...
物流学概论...
经济贸易类
微观经济学...
国际贸易实务...
报关实务...
国际商务...
国际贸易...
国际贸易理论与实务...
国际贸易地理...
物流管理...
物流地理...
国际物流业务操作...
仓储管理...
仓储作业管理...
集装箱运输...
供应链管理...
新加坡港研究报告...
物流概论...
物流
电子商务物流管理...
电子商务理论与实务...
商务谈判与沟通技巧...
市场经济...
房地产估价...
经济学原理...
世纪经济学...
世界经济学...
工业技术经济学...
物流经济理论...
商业经济学...
金融类
西方经济学...
管理经济学...
工程经济...
证券投资学...
金融工程学...
金融
金融理论前沿...
人身保险...
保险学
基本养老保险...
金融学
金融理论...
市场营销类
汽车营销基础实务...
汽车销售实务...
市场营销...
企业营销策划...
市场营销学...
国际市场营销...
市场营销实务...
营业推广策划...
消费者行为学...
会展策划概论...
市场营销策划...
财务会计类
财务会计...
财务报表分析...
会计学
会计信息系统...
基础会计学...
企业会计实务...
财务案例分析...
会计原理与实务...
基础会计...
汇总记账凭证服务处...
税务会计...
会计基础...
财会专业...
会计
会计基本技能...
中级财务会计...
会计案例研究...
成本会计...
物流企业财务核算...
会计法律制度...
会计电算化...
现金支票业务实训...
会计基础知识与应用...
管理会计...
财会专业岗位能力培...
现金支票...
财政学
货币银行学...
依法纳税...
支票结算...
财政税务类
税法学
税务管理...
税务管理学...
电子商务类
网络营销...
电子商务实务...
电子商务基础...
电子商务概论...
统计类
统计学
公安与司法大类
法律实务类
法律基础...
实用法律基础...
法理学
民事诉讼法原理与实...
法学基础...
北美独立战争...
军制学
中国法制史...
经济法学...
民法学
公安管理类
治安管理...
公安指挥类
警察指挥与战术...
公安技术类
刑事科学技术...
侦查类
刑事侦查...
法律执行类
刑事执行...
司法技术类
刑事侦查技术...
学科分类:
高教
>
工学
>
轻工类
资源类型:
全部
教学素材
成型课件
视频课程
网络课程
课程资源包
教学素材:
PPT课件
教案
动画素材
仿真实验
视频素材
图片素材
音频素材
文本素材
习题试卷
成型课件:
非PPT成型课件
PPT成型课件
视频课程:
微课
教学视频
网络课程:
rar形式
url形式
上传时间:
-
评星打分:
5星
4星
3星
2星
1星
全部
教学素材
成型课件
视频课程
网络课程
课程资源包
化工实习-维生素E2
上传时间:2024-02-01 12:46:30
无
下载积分:10
资源类型: 图片素材
浏览量:125
收藏量:0
下载量:0
简介: 无
收藏
下载
化工实习-维生素E1
上传时间:2024-02-01 12:46:30
无
下载积分:10
资源类型: 图片素材
浏览量:120
收藏量:0
下载量:0
简介: 无
收藏
下载
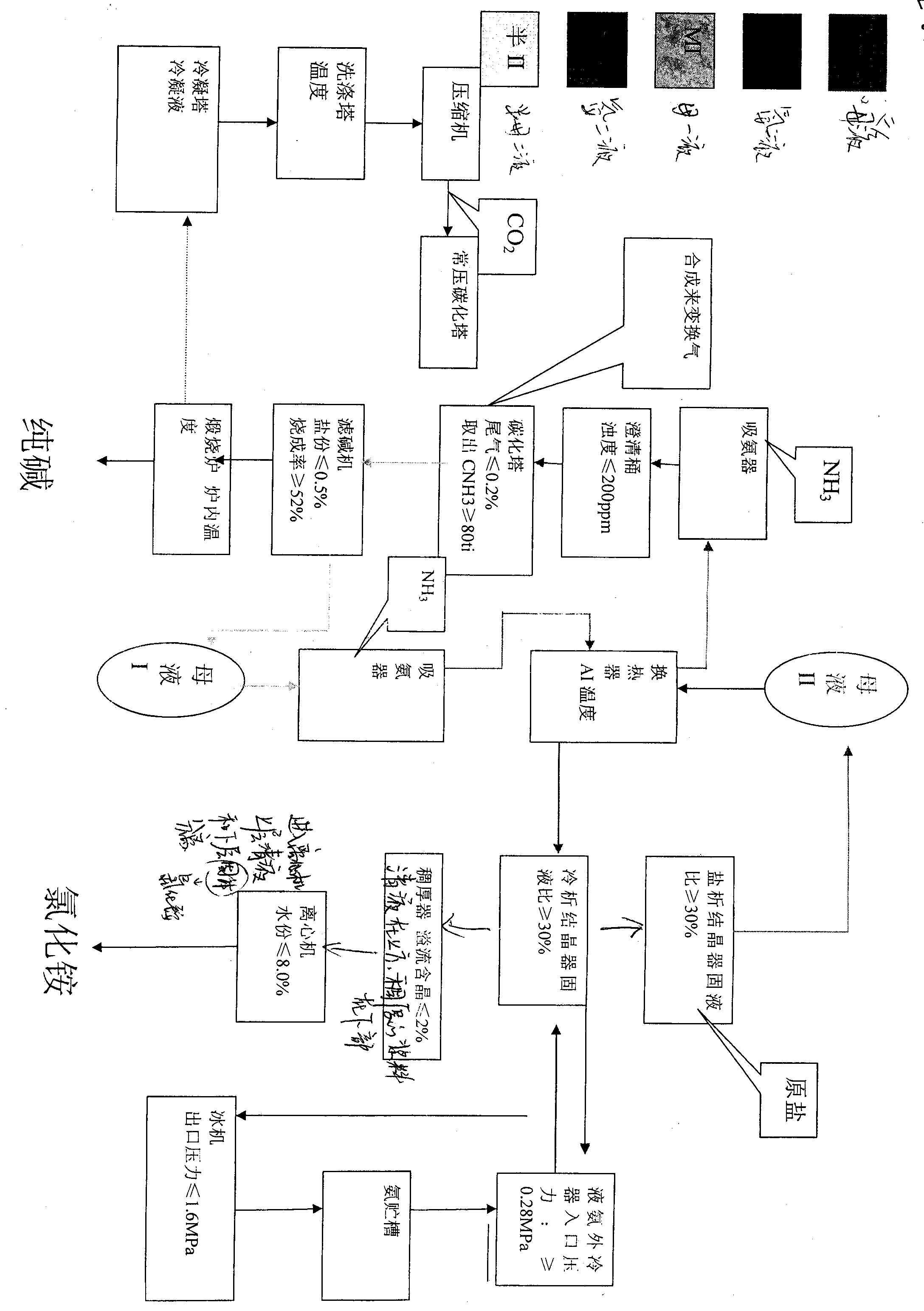
化工实习-纯碱流程
上传时间:2024-02-01 12:46:30
无
下载积分:10
资源类型: 图片素材
浏览量:168
收藏量:0
下载量:0
简介: 无
收藏
下载
化工实习-红外线分析仪
上传时间:2024-02-01 12:46:30
无
下载积分:10
资源类型: 图片素材
浏览量:127
收藏量:0
下载量:0
简介: 无
收藏
下载
化工实习-索布特法分离1-丁烯
上传时间:2024-02-01 12:46:30
无
下载积分:10
资源类型: 图片素材
浏览量:168
收藏量:0
下载量:0
简介: 无
收藏
下载
化工实习-精馏塔带控制点流程图
上传时间:2024-02-01 12:46:30
无
下载积分:10
资源类型: 图片素材
浏览量:121
收藏量:0
下载量:0
简介: 无
收藏
下载
化工实习-管道泵外观
上传时间:2024-02-01 12:46:30
无
下载积分:10
资源类型: 图片素材
浏览量:165
收藏量:0
下载量:0
简介: 无
收藏
下载
化工实习-管箍
上传时间:2024-02-01 12:46:30
无
下载积分:10
资源类型: 图片素材
浏览量:89
收藏量:0
下载量:0
简介: 无
收藏
下载
化工实习-管式炉裂解制乙烯
上传时间:2024-02-01 12:46:30
无
下载积分:10
资源类型: 图片素材
浏览量:141
收藏量:0
下载量:0
简介: 无
收藏
下载
化工实习-管冒丝堵
上传时间:2024-02-01 12:46:30
无
下载积分:10
资源类型: 图片素材
浏览量:125
收藏量:0
下载量:0
简介: 无
收藏
下载
首页
上一页
252
253
254
255
256
257
258
259
260
下一页
尾页
3862个结果,共387页